Wir versenden ausschließlich innerhalb Deutschlands (ohne Inseln).
Die Versandkosten betragen bis zu einem bestellten Warenwert von 29,99 € pauschal 8,99 € pro Bestellung.
Ab einem Warenwert von 30,- € pro Bestellung versenden wir versandkostenfrei.
Die Lieferzeit beträgt für alle Artikel (außer Badmöbel und Duschabtrennungen) 1-3 Tage. Badmöbel und Duschabtrennungen haben ca. ein bis zwei Wochen Lieferzeit, je nach Fertigung.
Verfügbarkeit
Artikel auf Lager und versandfertig in 3-14 Tagen (Badmöbel in 2-4 Wochen).
Beschreibung
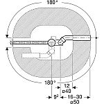
Verwendungszwecke - Für Badewannen mit Ventilloch D 52 mm - Für Badewannen aus Stahl, Kunststoff oder Guss - Für Badewannen in Spezialgröße Eigenschaften - Güteüberwacht nach EN 274-3 - Mit Überlauf und Zulauf - Überlaufkopf ausgerichtet befestigbar - Doppelseitige Dichtungen an Ab- und Überlauf - Einlaufstrahl ausrichtbar Technische Eigenschaften - Leitungsgeräusch bei 300 kPa (dB(A)): 15 dB(A) - Geräuschklasse: 1 - Einlaufleistung bei 3 bar (l/s): 0,35 l/s - Ablaufleistung (l/s): 0,85 l/s - Überlaufleistung (l/s): 0,6 l/s - Sperrwasserhöhe (mm): 50 mm - d, D / Außendurchmesser (mm): 40/50 mm - DN / Nennweite: 40 Zusätzlicher Lieferumfang - Fertigbauset - Anschlusswinkel 90Grad mit MasterFix, 1/2", radial dichtend - Anschlussbogen aus PE-HD, D 40 / 50 mm - Ablaufventil - Geruchsverschluss - Bauschutz - Befestigungsmaterial
Kurzbeschreibung
GE Badewannenablauf, d52 mit Drehbet. Zulauf, FB-set, Spez.Gr., DN40/50, chrg